پایگاه خبری تحلیلی انتخاب (Entekhab.ir) : 
شرکت سونی، حق اختراع یک اسکنر جدید را ثبت کرده است که اشیاء دنیای واقعی را در دنیای واقعیت مجازی قرار میدهد.
به گزارش سرویس آی تی و فناوری انتخاب به نقل از جی اس ام آرنا، حق ثبت اختراع سونی برای اسکنر سه بعدی که میتواند اشیاء دنیای واقعی را در واقعیت مجازی قرار دهد چیز جدیدی نیست. در واقع، این فهرست به ژوئن سال گذشته بازمیگردد، اما از آنجایی که اداره ثبت اختراع از سونی درخواست کرد تا اسناد را با جزئیات بیشتر مجدداً ارسال کند و شرکت سونیاین کار را انجام داده است، به نظر میرسد که این غول فناوری در تلاش خود جدی است.

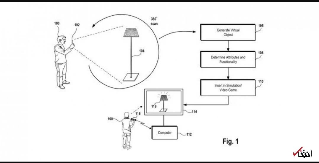
این اسناد نشان میدهد که اسکنر سه بعدی ممکن است برای قرار دادن اشیاء واقعی در دنیای مجازی استفاده شود، یا میتوان از آن برای ترکیب بهتر محیط واقعی با دنیای مجازی استفاده کرد. علاوه بر این، کاربر میتواند اشیاء بزرگتر را از موارد کوچک و دستی اسکن کند. تنها مورد نیاز این است که بتوانید شی را در ۳۶۰ درجه اسکن کنید.